信息化服务指南
信息化服务指南
数据中心服务 datacenter.bfsu.edu.cn
1、简介
数据中心平台的建设目标是以教育部2012年最新颁布实施的《高等学校管理信息》标准和相关行业信息标准为基础,结合学校实际情况,制定学校数据字典和信息编码标准,统一数据交换标准,建立安全高效、充分共享的校务信息数据中心;规范信息从采集、处理、交换到综合利用的全过程,逐渐形成有效的信息化管理的运行机制,为学校领导和有关部门信息利用、分析决策提供支持,为学校的教学管理和人才培养提供高效的信息服务。
2、个人画像:查询个人各类基础信息(见图12-1、12-2)

(图12-1)

(图12-2)
全校师生可以在个人中心集中查询个人数据,不用再去各业务系统分散查询,方便、高效、准确。如发现个人信息有误,可以根据数据来源联系相关数据产生部门更改,我们会及时同步正确数据。
3、部门画像:查询本部门各类信息(图12-3)

(图12-3)
部门画像模块包括教工、学生、资产、财务、科研、图书等各系统的数据统计,以图形化方式把数据展示出来,视觉更友好、数据更直观。
4.校情总览:方便学校领导随时了解学校基础信息

(图12-4)
5.双一流专题:在数据中心平台基础上,建设双一流发展数据监测平台,为学校领导决策提供数据支持,助力学校双一流建设。

(图12-5)
6.实用工具
组织机构一看表(图12-6)

本科生专业一览表(图12-7)

(图12-7)
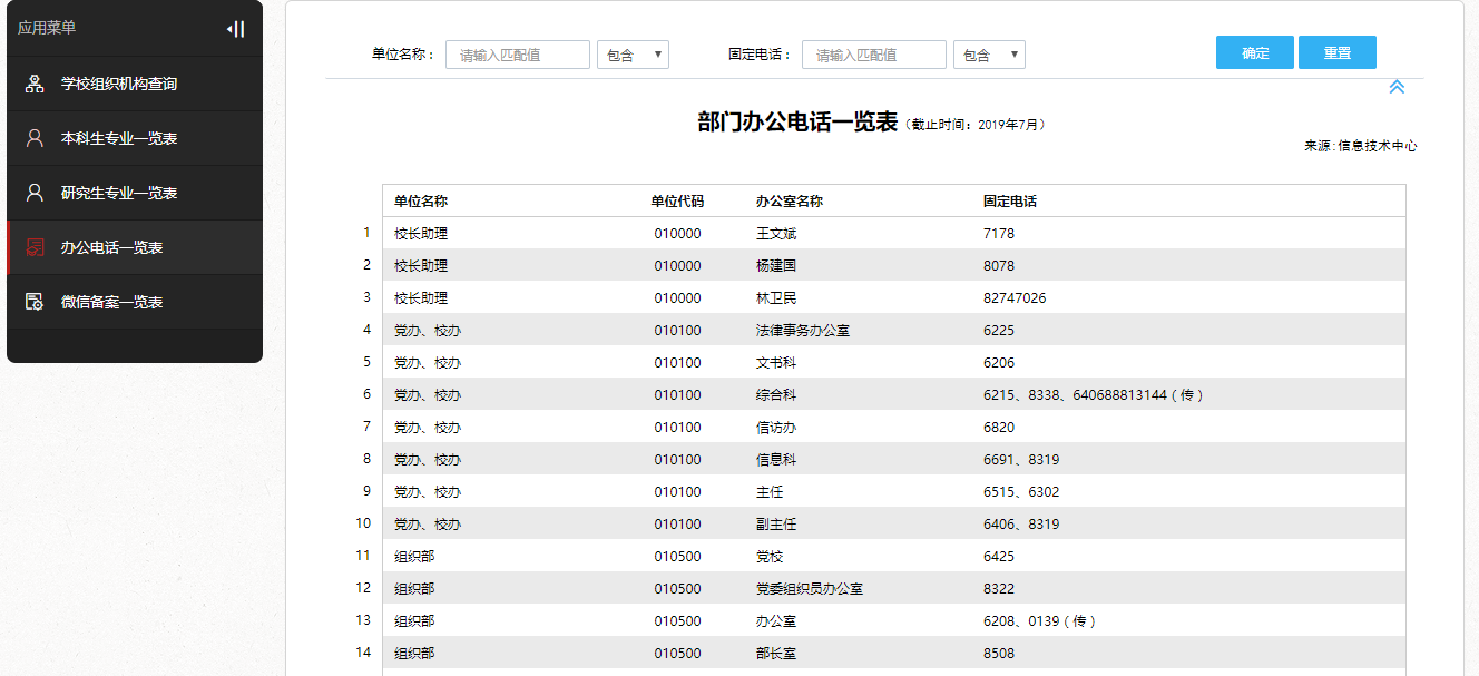
部门办公电话一览表(图12-8)

(图12-8)



